400 991 0880
正睿咨詢集團
免費電話:400 991 0880
專家熱線:13922129159
(微信同號)
固定電話:020-89883566
電子郵箱:zrtg888@163.com
總部地址:廣州市海珠區新港東路1068號(廣交會)中洲中心北塔20樓
生產車間設計規劃與布局需要考慮多個方面的因素,尤其是食品廠車間的布局相對通常的車間對光線溫度等提出了更多的要求??偟膩碚f食品車間布局6大原則如下。
食品車間布局6大原則
1、食品車間布局與設計首先應滿足生產、衛生方面的要求,其次才是滿足總體設計的要求。
2、生產車間應充分考慮生產效率,保證各個生產車間各工序間的相互配合,縮短原料及成品的運送距離,人流、物流通道要保持暢通。
3、各個生產車間的位置及車間內布局按照工藝流程走向來確定,以保證人流及物流都按照一個方向移動,避免出現倒流或混流的情況,避免和減少產品的交叉污染。
4、設備布局應按流水線來安排,并盡量做到占地面積最少,操作最方便。
5、食品車間尤其要注意車間的采光、通風、降溫等設施,對于會散發熱量、氣味或有腐蝕的設施或操作,要進行單獨布局。
6、能夠布局在室外的設備或設施,盡可能布局在室外,設備上面可加蓋防雨、防曬棚。
食品生產車間布局注意事項
涼果生產車間主要包含清洗車間、腌制、曬場、煮味或浸味車間、包裝車間等四個部分。食品生產車間每一部分布局有不同的要求。
食品生產車間布局---車間結構
生產流水線的形式和食品廠的生產規模決定了車間的長度,為了利于流水線的排布,大中型涼果長加工車間的長度通常60m左右較適宜;車間層高按房屋的跨度和生產工藝要求而定,通常以4~6m為宜,低也不能低于3m;單層廠房的層高可適當有所提高,國外食品生產車間高度通常為6~10m,有車間層也有高達12m以上的情況。
車間內立柱越少越好,過于擁擠的車間,不但妨礙生產操作,而且人員之間容易發生相互碰撞,人員工作服與生產設備發生接觸,很容易造成產品污染。
食品生產車間布局---車間總布局
涼果加工過程大都是從原料——半成品——成品的過程,也是從非清潔到清潔的過程。所以,原則上應該按照食品的加工順序進行布局,讓食品加工從不清潔的環節過渡到清潔環節。
涼果加工車間布局圖
食品生產車間布局---腌制、清洗
腌制、清洗車間應與原料倉庫相鄰,大中型涼果廠由于產量大,需處理的原料量大,車間的面積相應比較大。生產場地可再分為原料處理區和腌制區兩個部分。原料處理區是對原料進行分級、清洗。期間如果使用機械,往往是先分級再清洗,即分級機擺放在潔洗機之前,兩者之間用輸送帶連接。腌制車間腌制池數量根據需要量來確定,為了方便操作同時及減少占地面積。腌制池數量少的,可采用單側排置的方式,腌制池前為通道,通道的寬度應在1.5m以上;腌制池數量如果較多,則可雙向、或三向排置,每一向池之間的通道寬度應在1.5m以上,池與池之間的間隔至少750px。
食品生產車間布局---煮味及浸味車間
煮味及浸味車間應為兩個有間隔的獨立工作間,煮料間應單獨分隔出配料間。小型企業通常無鍋爐,煮料多使用明火,為保證衛生,放置煮料鍋的灶臺與燒火間要有隔離,不能連為一體;備有鍋爐的大型涼果企業,煮料通常采用可傾式不銹鋼蒸氣夾層鍋,一個夾層鍋的操作面積不能少于4.5m;。
食品生產車間布局---曬場布局
大多數涼果工廠的原料半成品及浸味后半成品的曬制以日曬為主。曬場相應地可分為兩個部分,通常浸味后的半成品曬制場靠近浸味間;原料半成品曬制場靠近腌制場所。兩部分也可以同為一個曬場,但功能及衛生條件需要明確區分。同時曬場需要滿足曬場衛生標準。
食品生產車間布局---包裝車間布局
涼果廠人最集中、衛生要求較高的生產場所就是包裝車間,該車間主要的生產設施是包裝臺和包裝機。
大型包裝車間以包裝機和物料臺等輔助器具組成若干條生產線,可同時包裝相同或不同品種的產品,每條生產線之間的間隔2~2.5m。
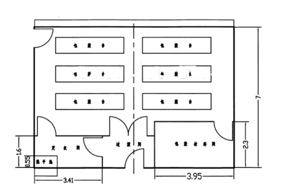
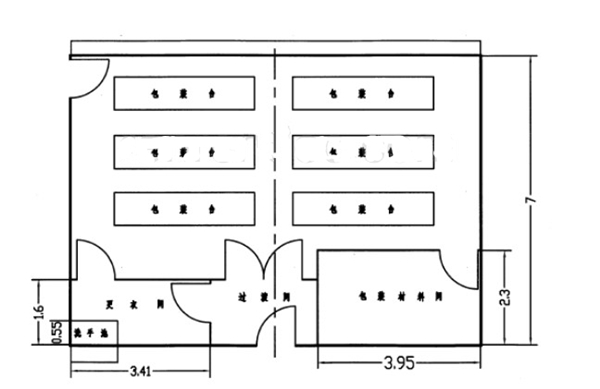
以人工包裝為主的場合,每個包裝臺的長寬通常為3m*l.5m,每側可坐3個工人,臺與臺的間距不得少于2m。產品包裝間的進口處必須設有更衣室、洗手處,需要滿足“包裝車間衛生要求”。
涼果包裝車間平面布局示意圖
小型涼果廠由于面積較小,生產區的布局大多呈“田”字型。年產量達到萬噸以上的大型涼果廠各個生產車間的面積較大,其生產布局逐漸向立體化發展。無論大小如何,食品車間布局,都應遵循以上食品車間布局6大原則。另外每一食品生產車間布局需要根據其用途,分別滿足其使用需要。
可能感興趣:食品廠車間管理案例
下一篇:生產流程分析法內容步驟

關注正睿官方微信,獲取更多企業管理實戰經驗

預約專家上門診斷服務

正睿咨詢官方視頻號

金濤說管理視頻號
© 2025 All rights reserved. 廣州正睿企業管理咨詢有限公司 免責聲明:網站部分素材來源于互聯網,如有侵權,請及時聯系刪除。
粵公網安備 44010502001254號 粵ICP備13009175號 站點地圖